Sample 15058c
15058 Pigeonite Basalt 2672 grams
Section titled “15058 Pigeonite Basalt 2672 grams”
Figure 1: Photo of mare basalt 15058 (before dusting). NASA S71-44205. Sample is shaped like a brick about 6 inches long and 3 inches high.
Note: see also figures 17 and 18
Introduction
Section titled “Introduction”15058 is a quartz-normative mare basalt with abundant elongate pyroxene crystals (figure 1). It has been dated at 3.4 b.y. with an exposure age of ~ 135 m.y.
15058 is one of the largest basalts returned from the moon, but its lunar orientation is not known with much certainty. The catalog records a few zap pits of the B1, W1and E1 surface, none on T1, N1 or S1. The sample has been shown to have a multistage exposure history (Eugster et al. 1984) and has been used for numerous studies of cosmic ray tracks.
Petrography
Section titled “Petrography”Ryder (1985), Bence and Papike (1972), Brown et al. (1972) and Gay et al. (1972) and Juan et al. (1972) describe the texture of 15058 and classify it as a pigeonite basalt. Large phenocrysts of pigeonite are green in the cores with brown rims. Although Rhodes and Hubbard (1973) reported rare olivine, the rock is quartz-normative. Olivine is restricted to cores of large pigeonite. Clusters of radiating plagioclase crystals are common (figure 3). Vugs contain pyroxene and plagioclase with diktytaxitic texture.
Mineralogical Mode of 15058
Section titled “Mineralogical Mode of 15058”| Sample catalog | Rhodes and | Juan et | ||||||
|---|---|---|---|---|---|---|---|---|
| Butler 1971 | Hubbard 1973 | al. 1972 | ||||||
| Olivine | tr. | 1.8 | ||||||
| Pyroxene | 71 | 66.3 | 72 | |||||
| Plagioclase | 24 | 27.1 | 22 | |||||
| Opaques | 2-3 | 2.8 | 2 | |||||
| Silica | 1 | 2.1 | 3 | |||||
| Other | 1 | |||||||

Figure 2: Thin section photomicrgraphs of 15058 showing large pyroxene phenocryst (left) and subophitic texture. Top is plane polarized light; bottom is crossed polarized. NASA S71-51746 and 747. Scale about 1 mm.
Papike et al. (1972) note that exsolution features are consistent with “slow cooling”. The cooling rate of 15058 and other basalts was studied experimentally by Grove and Walker (1977), Lofgren et al. (1975) and others.
Mineralogy
Section titled “Mineralogy”Pyroxene: The pyroxenes in 15058 are long – up to 2 cm in length – and highly zoned. Bence and Papike (1972) reported analyses of pyroxene in 15058 (figure 5). Papike et al. (1976) reported the cell dimensions of pyroxene crystals. Burns et al. (1972) discussed the charge balance and color of transition elements. Papike et al. (1972) discuss pyroxene exsolution and note that the coes of large pigeonite are not exsolved.
Plagioclase: Hollow plagioclase laths can be seen in thin section (figure 2). Gay et al. (1972), Juan et al.

Figure 3: Low magnification photo of microscope slide showing elongate pyroxene crystals and radiating plagioclase laths in 15058,128. Scale is about 1 cm.
(1972) and Wenk et al. (1973) reported plagioclase composition An80-90.
Ilmenite: Taylor et al. (1972) have used Zr in ilmenite as a measure of cooling rate and Engelhardt (1979) has determined the paragenesis of the rock using shape of ilmenite.
Spinel: Haggerty (1972) found that the spinel in 15058 was limited to ulvospinel.
Phosphates: McCubbin et al. (2010) have found that most of the phosphate grains in 15058 are fluorapatite with minor chloroapatite and trace water (~2400 ± 1100 ppm H2 O).
Chemistry
Section titled “Chemistry”O’Kelley et al. (1972) reported the K, Th and U content of the whole sample. The bulk composition was determined by LSPET (1972), Willis et al. (1972), Fruchter et al. (1973), Helmke et al. (1973), Rhodes et al. (1973). Wolf et al. (1979) determined trace elements (table 1). The composition is like that of other Apollo 15 basalts (figures 7 and 8). Gibson et al. (1975) determined the sulfur content (960 ppm).
Gibson and Moore (1972) determined the thermal release, outgassing of H2 0, CO2 and other species (figure 12).
note: see also figure 19

Figure 4: Closeup photomicrograph of thin section 15058,14 illustrationg hollow plagioclase needles (straws). Scale about 3 mm.
Radiogenic age dating
Section titled “Radiogenic age dating”Husain (1974) and Birck et al. (1975) determined the crystallization age of 15058 by Ar/Ar plateaus and Rb/Sr ischrons (figures 9 and 10).
Cosmogenic isotopes and exposure ages
Section titled “Cosmogenic isotopes and exposure ages”Eldridge et al. (1972) determined cosmic ray induced activity of $^{22}$ Na = 26 dpm/kg, $^{26}$ Al = 62 dpm/kg and $^{54}$ Mn = 27 dpm/kg.
Eugster et al. (1984) were able to separate the solar cosmic ray effects at the surface from the galactic cosmic ray effects at depth in 15058. They found that 15058 must have had a multistage exposure history, because 81Kr was found to significantly increase near the surface (figure 11) while 83Kr are constant with depth. This would be explained by 15085 having

Figure 7: Chemical composition of 15058 compared with that of other lunar basalts.

Figure 5: Composition of pyroxene in 15058.

Figure 6: Exsolution of pyroxene in 15058 (from Papike et al. 1972).
received most of its cosmic ray irradiation in a “shielded location” (beneath the regolith) and finally being exposed to solar irradiation for the last million years right at the lunar surface. Eugster et al. also found that 81Kr, along with 3H (tritium), was enhanced in the surface.
Other Studies
Section titled “Other Studies”Sato (1973) determined the intrinsic oxygen fugacity of 15058. Epstein and Taylor (1972) determined the composition of oxygen, silicon isotopes of mineral separates.

Figure 8: Normalized rare-earth-element composition of 15058 (data from Fruchter et al. 1973).
Table 1. Chemical composition of 15058.
| reference | O’Kelly 72 | Rhodes 73 Willis 72 | Fruchter73 | Wolf 79 | Helmke73 | ||||||
|---|---|---|---|---|---|---|---|---|---|---|---|
| weight SiO2 % TiO2 Al2O3 FeO MnO MgO CaO | A15PET72 47.81 1.77 8.87 19.97 0.28 9.01 10.32 | (b) 48.47 (b) 1.6 (b) 8.9 (b) 19.75 (b) 0.274 (b) 9.56 (b) 10.23 | (b) (b) (b) (b) | (b) 1.8 (b) 9.3 (b) 20.1 | (c ) (c ) (c ) | 1.34 g 0.26 | (c ) | ||||
| Na2O K2O P2O5 S % sum | 0.0486 | 0.28 (a) 0.03 0.08 0.07 | (b) 0.28 (b) 0.038 (b) 0.049 (b) 0.057 | (b) (b) (b) | (b) 0.29 | (c ) | |||||
| Sc ppm | 46 | (c ) | |||||||||
| V Cr Co Ni | 4516 | (b) 2865 42 | (c ) (c ) | 50 | (d) 31 | (c ) | |||||
| Cu Zn | 0.94 | (d) | |||||||||
| Ga Ge ppb | 6.47 | (d) | |||||||||
| As Se Rb | <2 | (b) | 56 0.646 | (d) (d) | |||||||
| Sr Y Zr | 101 98 | 99.2 21.1 70.9 | (b) (b) (b) | 107 | (c ) | ||||||
| Nb Mo Ru | 4.9 | (b) | |||||||||
| Rh Pd ppb | < 0.51 | (d) | |||||||||
| Ag ppb Cd ppb | 0.27 3.35 | (d) (d) | |||||||||
| In ppb Sn ppb | 0.4 83 | (d) (d) | |||||||||
| Sb ppb Te ppb | 0.43 2 | (d) (d) | |||||||||
| Cs ppm Ba La | 49 | (b) | 6 | (c ) | 0.0267 (d) | 62 5.58 | (c ) (c ) | ||||
| Ce Pr | 14.5 | (c ) | |||||||||
| Nd Sm | 4.1 | (c ) | 10.9 3.9 | (c ) (c ) | |||||||
| Eu Gd | 1.08 | (c ) | 0.908 5 | (c ) (c ) | |||||||
| Tb Dy | 0.9 | (c ) | 0.87 5.59 | (c ) (c ) | |||||||
| Ho Er | 1.1 3.2 | (c ) (c ) | |||||||||
| Tm Yb | 2.5 | (c ) | 2.54 | (c ) | |||||||
| Lu Hf Ta W ppb | 0.43 2.6 0.46 | (c ) (c ) (c ) | 0.388 | (c ) | |||||||
| Re ppb Os ppb Ir ppb | 0.006 0.02 0.0063 (d) | (d) (d) | |||||||||
| Pt ppb Au ppb | 0.081 | (d) | |||||||||
| Th ppm U ppm technique: (a) radiation counting, (b) XRF, (c ) INAA, (d) RNAA | 0.52 0.13 | (a) (a) | 0.089 | (d) |

Figure 9: Ar/Ar age dating plateau diagram for 15058 from Husain (1974).
Abu-Eid et al (1973), Burns et al. (1973) and Huffman et al. (1972, 1974) collected Mossbauer spectra. Charette and Adams (1975) collected IR spectra
Nagata et al. (1972, 1973, 1975), Banarjee and Mellema (1974) and Collinson et al. (1975) have reported on the magnetic properties of 15058. Mitzutani and Newbigging (1973) have determined the seismic velocity in 15058 and Simmons et al. (1975)

Figure 10: Rb/Sr mineral isochron determined by Birck et al. (1975).
Summary of Age Data for 15058
Section titled “Summary of Age Data for 15058”Ar/Ar Rb/Sr Husain 1974 3.358 ± 0.025 b.y. Birck et al. 1975 3.46 ± 0.04
Note: Be careful with these old decay constants.
have investigated the microcracks that greatly influence the physical properties. Schwerer et al. (1974) have investigated the electrical conductivity.
Bhandari et al. (1972, 1973), Poupeau et al. (1972), Fleischer et al. (1973) and Crozaz et al. (1974) have studied the cosmic ray tracks in 15058.

Figure 11: Rare gas depth profile by Eugster et al. 1984 showing variation of isotopic ratios due to bombardment by solar and cosmic rays.
| Table 2 Birck et al. 1975 | U ppm | Th ppm | K ppm 330 | Rb ppm 0.8 | Sr ppm 99 | Nd ppm | Sm ppm | technique IDMS |
|---|---|---|---|---|---|---|---|---|
| O’Kelley et al. 1973 | 0.13 | 0.52 | 403 | counting | ||||
| Snyder et al. 1998 Wolf et al. 1979 | 0.089 | 1.23 0.646 | 110 | 15.7 | 5 | IDMS RNAA |

Figure 12: Gas evolved from 15058 on heating (by Gibson and Moore 1972).
Processing
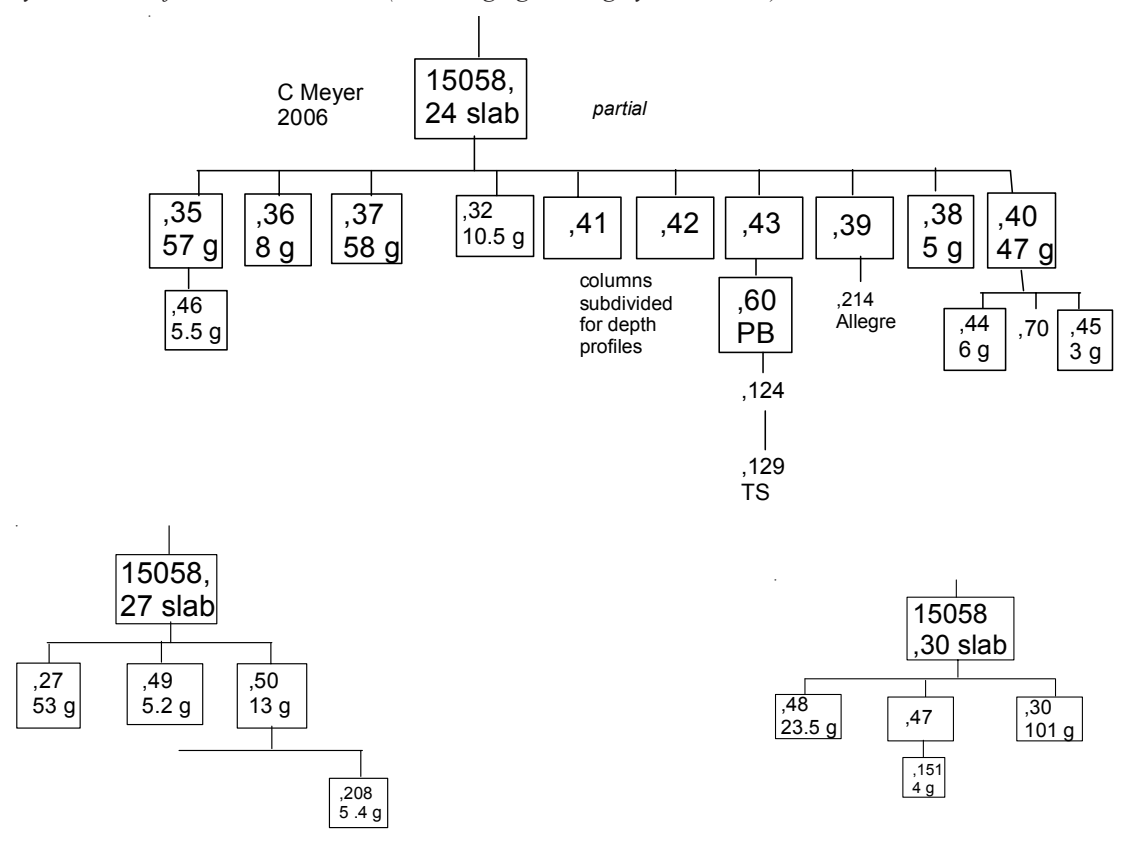
Section titled “Processing”First a long slab was cut (figure 15), then a compound slab was cut at right angles by cutting slabs from each side piece (figure 16). A long thin column was cut from the center of the first slab (,32). This sample was much allocated, especially to science labs wishing to study “physical properties”. There are 18 thin sections of 15058.
Several pieces of 15058 have been allocated for public display (figure 13). One is at the NASA AMES Research Center in California, a second at the NASA Kennedy Space Center in Florida, a third at the NASA Lewis Research Center and a fourth is held at JSC PAO.
Additional detailed information is found in the catalog by Ryder (1985).

Figure 13: Interior sawn sufaces of 15058. NASA S76-24636. Note long pyroxene needles extending through vugs with diktytaxitic texture. Scale is mm. These are two of the samples on public display.

Figure 14: Exploded parts diagram for 15058 showing how two slabs, at right angles, were cut. Large slab ,24 was cut N-S through sample, followed by slices ,27 and ,30 cut E-W from ends.


Figure 15: First slab (,24) cut lengthwise through 15058. Columns ,41 ,42 ,43 were further subdivided to provide samples with known depth profiles. NASA S72-15241. Central column not allocated. End piece ,39 was substantially subdivided for most allocations (including age dating by Birck et al.)


Figure 16: Second (,27) and third (,30) slabs cut at right angles through 15058 (see figure 14). NASA S71- 60669.
References for 15058
Section titled “References for 15058”Bence A.E. and Papike J.J. (1972) Pyroxenes as recorders of lunar basalt petrogenesis: Chemical trends due to crystalliquid interaction. Proc. 3rd Lunar Sci. Conf. 431-469.
Bhandari N., Goswami J. and Lal D. (1973) Surface irradiation and evolution of the lunar regolith. Proc. 4th Lunar Sci. Conf. 2275-2290.
Birck J.L., Fourcade S. and Allegre C.J. (1975) 87Rb/86Sr age of rocks from the Apollo 15 landing site and significance of internal isochron. Earth Planet. Sci. Lett. 26, 29-35.
Brown G.M., Emeleus C.H., Holland G.J., Peckett A. and Phillips R. (1972) Mineral-chemical variations in Apollo 14 and Apollo 15 basalts and granitic fractions. Proc. 3rd Lunar Sci. Conf. 141-157.
Burns R.G., Vaughan D.J., Abu-Eid R.M. and Witner M. (1973) Spectral evidence for Cr+3, Ti+3 and Fe+2 rather than Cr2+ and Fe3+ in lunar ferromagnesian silicates. Proc. 4th Lunar Sci. Conf. 983-994.
Butler P. (1971) Lunar Sample Catalog, Apollo 15. Curators’ Office, MSC 03209
Charette M.P. and Adams J.B. (1975a) Mare basalts: Characterization of compositional parameters by spectral reflectance. In Papers presented to the Conference on Origins of Mare Basalts and their Implications for Lunar Evolution, 25-28. Lunar Planetary Institute, Houston.
Crozaz G., Drozd R., Hohenberg C., Morgan C., Ralston C., Walker R. and Yuhas D. (1974a) Lunar surface dynamics: Some general conclusions and new results from Apollo 16 and 17. Proc. 5th Lunar Sci. Conf. 2475-2499.
Donaldson C.H., Drever H.I. and Johnson R. (1977) Supercooling on the lunar surface: a review of analogue information. Phil. Trans. R. Soc. London A285, 207-217.
Ehmann W.D., Chyi L.L., Garg A.N., Hawke B.R., Ma M. S., Miller M.D., James W.D. and Pacer R.A. (1975a) Chemical studies of the lunar regolith with emphasis on zirconium and hafnium. Proc. 6th Lunar Sci. Conf. 1351 1361.
Eldridge J.S., O’Kelley G.D. and Northcutt K.J. (1972) Concentrations of cosmogenic radionuclides in Apollo 15 rocks and soils. In The Apollo 15 Lunar Samples 357 359. Lunar Sci. Institute, Houston.
Epstein S. and Taylor H.P. (1972) O18/O16, Si30/Si28, C13/C12 and D/H studies of Apollo 14 and 15 samples. Proc. 3rd Lunar Sci. Conf. 1429-1454.
Eugster O., Eberhardt P., Geiss J., Grogler N., Jungck M., Meier F., Morgell M. and Niederer F. (1984a) Cosmic ray exposure histories of Apollo 14, Apollo 15 and Apollo 16 rocks. Proc. 14th Lunar Planet. Sci. Conf. in J. Geophys. Res. 89, B498-B512.
Fleischer R.L., Hart H.R. and Giard W.R. (1973) Particle track record of Apollo 15 shocked crystalline rocks. Proc. 4th Lunar Sci. Conf. 2307-2317.
Fruchter J.S., Stoeser J.W., Lindstrom M.M. and Goles G.G. (1973) Apollo 15 clastic materials and their relationship to local geologic features. Proc. 4th Lunar Sci. Conf. 1227 1237.
Gay P., Muir I.D. and Price G.G. (1972) Mineralogy and petrology of two Apollo 15 mare basalts. In The Apollo 15 Lunar Samples. 70-72. (Ed. Chaimberlain and Watkins) LPI
Gibson E.K. and Moore G.W. (1972c) Thermal analysisinorganic gas release studies on Apollo 14, 15 and 16 lunar samples. In The Apollo 15 Lunar Samples 307-310.
Gibson E.K., Chang S., Lennon K., Moore G.W. and Pearce G.W. (1975a) Sulfur abundances and distributions in mare basalts and their source magmas. Proc. 6th Lunar Sci. Conf. 1287-1301.
Grove T.L. and Walker D. (1977) Cooling histories of Apollo 15 quartz-normative basalts. Proc. 8th Lunar Sci. Conf. 1501-1520.
Haggerty S.E. (1972b) Chemical characteristics of spinels in some Apollo 15 basalts. In The Apollo 15 Lunar Samples 92-97. Lunar Science Institute.
Helmke P.A., Blanchard D.P., Haskin L.A., Telander K., Weiss C. and Jacobs J.W. (1973) Major and trace elements in igneous rocks from Apollo 15. The Moon 8, 129-148.
Humphries D.J., Biggar G.M and O’Hara M.J. (1972) Phase equilibria and origin of Apollo 15 basalts etc. In The Apollo 15 Lunar Samples. 103-107. Lunar Planetary Institute, Houston.
Husain L. (1972) 40Ar-39Ar and cosmic ray exposure ages of the Apollo 15 crystalline rocks, breccias and glasses (abs). In The Apollo 15 Lunar Samples. 374-375. Lunar Planetary Institute, Houston.
Husain L. (1974) 40Ar-39Ar chronology and cosmic ray exposure ages of the Apollo 15 samples. J. Geophys. Res. 79, 2588-2606.
Janghorbani M., Miller M.D., Ma M-S., Chyi L.L. and Ehmann W.D. (1973) Oxygen and other elemental abundance data for Apollo 14, 15, 16 and 17 samples. Proc. 4th Lunar Sci. Conf. 1115-1126.
Juan V.C., Chen J.C., Huang C.K., Chen P.Y. and Wang Lee C.M. (1972b) Petrology and chemistry of some Apollo 15 crystalline rocks. In The Apollo 15 Lunar Samples, 110 115.
Lofgren G.E., Donaldson C.H. and Usselman T.M. (1975) Geology, petrology and crystallization of Apollo 15 quartznormative basalts. Proc. 6th Lunar Sci. Conf. 79-99.
LSPET (1972a) The Apollo 15 lunar samples: A preliminary description. Science 175, 363-375.
LSPET (1972b) Preliminary examination of lunar samples. Apollo 15 Preliminary Science Report. NASA SP-289, 6 1—6-28.
McCubbin F.M., Steele A., Nekvasil H., Schnieders A., Rose T., Fries M., Carpenter P.K. and Joliff B.L. (2010) Detection of structurally bound hydroxyl in apatite from Apollo mare basalt 15058,128 using TOF-SIMS (abs2468). 41st Lunar Planet. Sci. Conf. @ The Woodlands
Mizutani H. and Newbigging D. (1973) Elastic wave velocities of Apollo 14, 15 and 16 rocks. Proc. 4th Lunar Sci. Conf. 2601-2609.
Moore C.B., Lewis C.F., and Gibson E.K. (1972) Carbon and nitrogen in Apollo 15 lunar samples. In The Apollo 15 Lunar Samples (Chamberlain and Watkins, eds.), 316-318. The Lunar Science Institute, Houston.
Moore C.B., Lewis C.F. and Gibson E.K. (1973) Total carbon contents of Apollo 15 and 16 lunar samples. Proc. 4th Lunar Sci. Conf. 1613-1923.
Nagata T., Fisher R.M., Schwerer F.C., Fuller M.D. and Dunn J.R. (1972a) Rock magnetism of Apollo 14 and 15 materials. Proc. 3rd Lunar Sci. Conf. 2423-2447.
Nagata T., Fischer R.M., Schwerer F.C., Fuller M.D. and Dunn J.R. (1972b) Summary of rock magnetism of Apollo 15 lunar materials. In The Apollo 15 Lunar Samples, 442 443. The Lunar Science Institute, Houston.
Nagata T., Fischer R.M., Schwerer F.C., Fuller M.D. and Dunn J.R. (1973) Magnetic properties and natural remanent magnetization of Apollo 15 and 16 lunar materials. Proc. 4th Lunar Sci. Conf. 3019-3043.
O’Kelley G.D., Eldridge J.S. and Northcutt K.J. (1972a) Abundances of primordial radioelements K, Th, and U in Apollo 15 samples, as determined by non-destructive gamma-ray spectrometry. In The Apollo 15 Lunar Samples (Chamberlain and Watkins eds.), 244-246. Lunar Science Institute, Houston.
O’Kelley G.D., Eldridge J.S., Northcutt K.J. and Schonfeld E. (1972c) Primordial radionuclides and cosmogenic radionuclides in lunar samples from Apollo 15. Proc. 3rd Lunar Sci. Conf. 1659-1670.
Papike J.J., Bence A.E. and Ward M.A. (1972) Subsolidus relations of pyroxenes from Apollo 15 basalts. In The Apollo 15 Lunar Samples. 144-147. Lunar Science Institute, Houston.
Papike J.J., Hodges F.N., Bence A.E., Cameron M. and Rhodes J.M. (1976) Mare basalts: Crystal chemistry, mineralogy and petrology. Rev. Geophys. Space Phys. 14, 475-540.
Poupeau G., Pellas P., Lorin J.C., Chetrit G.C. and Berdot J.L. (1972) Track analysis of rocks 15058, 15555, 15641 and 14307. In The Apollo 15 Lunar Samples. 385-387. Lunar Planetary Institute, Houston.
Rhodes J.M. and Hubbard N.J. (1973) Chemistry. classification, and petrogenesis of Apollo 15 mare basalts. Proc. 4th Lunar Sci. Conf. 1127-1148.
Roedder E. and Weiblen P.W. (1972a) Petrographic features and petrologic significance of melt inclusions in Apollo 14 and 15 rocks. Proc. 3rd Lunar Sci. Conf. 251-279.
Ryder G. (1985) Catalog of Apollo 15 Rocks (three volumes). Curatoial Branch Pub. # 72, JSC#20787
Sato M., Hicklin N.L. and McLane J.E. (1973) Oxygen fugacity values of lunar samples. Proc. 4th Lunar Sci. Conf. 1061-1079.
Schwerer F.C., Huffman G.P., Fisher R.M. and Nagata T. (1974) Electrical conductivity of lunar surface rocks: Laboratory measurements and implications for lunar interior temperatures. Proc. 5th Lunar Sci. Conf. 2673-2687.
Simmons G., Siegfried R. and Richter D. (1975) Characteristics of microcracks in lunar samples. Proc. 6th Lunar Sci. Conf. 3227-3254.
Swann G.A., Hait M.H., Schaber G.C., Freeman V.L., Ulrich G.E., Wolfe E.W., Reed V.S. and Sutton R.L. (1971b) Preliminary description of Apollo 15 sample environments. U.S.G.S. Interagency report: 36. pp219 with maps
Swann G.A., Bailey N.G., Batson R.M., Freeman V.L., Hait M.H., Head J.W., Holt H.E., Howard K.A., Irwin J.B., Larson K.B., Muehlberger W.R., Reed V.S., Rennilson J.J., Schaber G.G., Scott D.R., Silver L.T., Sutton R.L., Ulrich G.E., Wilshire H.G. and Wolfe E.W. (1972) 5. Preliminary Geologic Investigation of the Apollo 15 landing site. In Apollo 15 Preliminary Science Rpt. NASA SP-289. pages 5-1-112.
Taylor L.A. and McCallister R.H. (1972) An experimental investigation of the significance of zirconium partioning in lunar ilmenite and ulvospinel. Earth Planet. Sci. Lett. 17, 105-109.
Wenk H.R., Muller W.F. and Thomas G. (1973) Antiphase domains in lunar plagioclase. Proc. 4th Lunar Sci. Conf. 909-923.
Willis J.P., Erlank A.J., Gurney J.J. and Ahrens L.H. (1972) Geochemical features of Apollo 15 materials. In The Apollo 15 Lunar Samples (Chamberlain and Watkins eds.), 268 271. The Lunar Science Institute, Houston.
Wolf R., Woodrow A. and Anders E. (1979) Lunar basalts and pristine highland rocks: Comparison of siderophile and volatile elements. Proc. 10th Lunar Planet. Sci. Conf. 2107 2130.



Figure 19: Apollo 15 basalts are of tw types a) pigeonite basalts and b) olivine-normative basalts (see section on 15555).